
5月29日,由杭州傲风电竞科技有限公司牵头起草的《电子竞技桌》(T/ZFA 11-2023)皇冠体育经ag百家乐批准后正式发布,该标准将于2023年6月1日起正式实施,这也是全国首个与电子竞技桌相关的产品标准, 世界杯投注。
一、《电子竞技桌》制定背景
2003年,中国国家体育总局将电子竞技纳入正式开展的体育项目起,电子竞技一直作为一种体育项目成为中国体育学者的研究主题。2019年,中央政府明确提出将电子竞技产业纳入体育产业统计范围。近年来受国家相关政策进一步宽松影响,游戏玩家的普遍关注,以及对赛事的推广与制度的完善,使得中国电竞发展进入飞速发展阶段。2022年,我国电竞产业收入已达到1445 体育投注,03亿元人民币,电竞用户规模约4,88亿人。 。
作为近年来兴起的电子竞技运动的配套桌子,电子竞技桌的出现,能够减少玩家因长时间的单一姿势产生的健康问题,虽然发展历程较短,但势头迅猛,特别是在中国,美国 皇冠体育,欧盟等地呈现飞速增长的趋势,但市场上缺乏电子竞技桌的产品标准,随着电子竞技细分市场的发展,制订与电子竞技桌有关的标准迫在眉睫, 。
二、《电子竞技桌》制定原则
1、科学协调性
由杭州傲风电竞科技有限公司牵头组建的标准起草小组查阅了国内外有关文献和研究,结合了电子竞技桌的产品特点,吸取了电子竞技俱乐部和职业选手的意见 真人百家乐,掌握了大量的数据和资料,基于国内电子竞技桌的发展现状,在充分认识了标准对电子竞技桌产品可持续发展的重要性的前提下编制, 。
2、先进性
该文件是国内首次制订电子竞技桌的皇冠体育,填补了行业空白,在标准制订过程中,标准起草小组查阅了国内外相关的法律法规,标准资料,科研论文,并在制订过程中多次与同行进行咨询和研讨,确保了标准中试验方法和技术指标的先进性 ag百家乐, 。
3、可适用性
该文件的制订充分考虑了电子竞技参赛者,俱乐部,普通玩家的使用需求,标准中的技术指标和试验方法已验证 百家乐官网,标准内容具有可操作性,确保标准要求可以有效适用于我国现有电子竞技桌产品, 。
三、《电子竞技桌》实施意义
《电子竞技桌》(T/ZFA 11-2023)规定了电子竞技桌的产品分类,技术要求,试验方法,检验规则 AG官网,标志,使用说明,包装,运输和贮存等方面的内容,适用于电子竞技场馆,游戏厅或家庭从事电子竞技活动的单人专用桌, 。

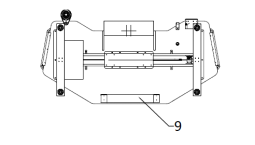
单人用电子竞技桌示意图
标引序号说明:
1——无线充;
2——水杯架;
3——键盘托;
4——主机托;
5——氛围灯;
6——电脑增高架;
7——手控器;
8——耳机架;
9——集线器。

双人用电子竞技桌示意图
标引序号说明:
1——水杯架;
2——键盘托;
3——主机托;
4——氛围灯;
5——电脑增高架;
6——耳机架;
7——手控器;
8——集线器。
《电子竞技桌》作为全国首个电子竞技桌的产品标准,将有效规范电竞桌产品市场 AG亚游,为生产制造者提供了可依据的标准,帮助消费者挑选到质量高,品质好的电竞桌产品,促进电竞家具细分领域的发展, 。
四 AG十大娱乐平台. 牵头单位介绍——杭州傲风电竞科技有限公司 .
傲风品牌发展历程
AutoFull傲风,专业电竞外设装备品牌,拥有电竞椅,电竞桌,电竞舱等产品系,连续多年LPL,KPL顶级职业赛事,头部职业战队RNG等的官方指定品牌,连续6年荣登电竞椅行业影响力第一品牌,坚持职业电竞装备的标准研发产品,打造集专业电竞,技术领先 Ag娱乐官网入口,潮酷时尚于一体的行业标杆装备,将健康电竞与极致游戏体验,传递给全球每一位玩家, 。
傲风国家级标准实验室
傲风拥有近百人研发队伍按照国家级标准设立的实验室于2022 年底落成投入使用;产品历经上万次的功能测试,不断打磨产品工艺,进行功能、材质的创新,时刻保持科技领先优势,领导行业创新风向标,为客户需求提供无限供能。
作为电竞椅行业领导品牌,傲风致力于为各大赛事提供最专业最舒适的电子竞技外设体验,也获得众多赛事活动举办方的青睐。目前已成为国内、国际千余场赛事官方合作伙伴,用职业联赛标准严格打磨产品,为职业赛场提供专业的电竞外设,包括:
· 2022/2021/2020/2016持续4年赞助头部赛事LPL
· 2022穿越火线周年庆
· 2022王者荣耀全国大赛
· 2022梦幻西游全民PK赛
· 2021东亚电竞锦标赛ECEA
· 2021完美世界诛仙嘉年华
· 2020WCAA世界电子竞技大赛
· 2019CS:GO亚洲邀请赛预选赛
· 2019年OPL决战平安京职业联赛
· 2018PCPI、2017CS:GOMinor&MDL
· 2016WCA等顶级职业赛事
众多头部职业战队专用装备品牌
傲风赞助了国内众多顶级职业战队,与职业选手共创满足高强度训练的专业设备,合作过RNG、LGD、DRG、4AM、狼队等近百余支顶级职业战队,不断研发新技术、新功能应用于产品,为职业选手赋能,并且和享誉国际的知名战队Rogue达成战略合作关系,成为四年间坐拥27个冠军的Rogue电子竞技俱乐部的电竞椅官方合作伙伴,为Rogue旗下英雄联盟、彩虹六号、AGO、火箭联盟等多个项目战队提供设备支持。
众多明星艺人体验电竞椅
知名影视IP首选电竞椅
凭借品牌专业性与高知名度,傲风成为《全职高手》、《亲爱的,热爱的》、《移情高手》等众多电竞题材知名影视剧集的首选电竞椅。
傲风连续多年被票选为最受玩家喜爱的电竞椅品牌
·2022金麦奖品牌影响力奖
·2022金麦奖营销奖--傲风M6奥特曼联名款电竞椅
·2022Bilibili Z100 UP主在用年度产品榜--傲风M6电竞椅
·2022DoNews灵锋奖优秀产品
·2022外设天下年度最佳电竞桌椅套装--傲风A4电竞桌椅套装
·2021 GEN-Z年度喜爱技术创想力品牌
·2021热点科技年度创新设计奖
·2021电竞品牌评选盛典年度最受欢迎外设品牌
·2021 PConline至臻科技奖年度科技创新--傲风机械大师PRO电竞椅
·2020 Bilibili百大年轻人喜爱的中国产品
·2020中关村在线年度推荐产品
·2020年度新西兰Big Boys Toys最佳合作伙伴奖项


